四十载砥砺奋斗,重离子物理研究所始终恪守探索与创新的初心,勇攀科学高峰,拓展领域边界,一直紧跟科学前沿和国家重大需求开展研究工作,积极承担并攻克科技部973、863、重大科学仪器设备开发专项,国家自然科学基金重大、重点、面上等一大批重要的国家级科研项目,取得了多项具有原创性的重要成果,曾获科技部、教育部、北京市等多项表彰奖励。
近年来重离子物理研究所在顶级期刊上发表研究论文的数量和质量不断提升,每年稳定发表研究论文数量近百篇,多个研究团队在享誉全球的Nature Neuroscience、Nature Photonics、Nature Communications、Physical Review Letters、Physical Review X等国际顶级期刊发表高水平论文,屡获科研界赞誉。伴随着科研经费的逐年稳步增长,多位研究团队和成员先后荣膺科技部奖项和社会荣誉称号,重离子物理研究所的科研实力和影响力得到了广泛的学术认可和行业赞誉。
以下总结罗列了40年来各个研究团队所取得的重大代表性科研成果:
代表性成果
射频超导团队
射频超导加速腔的研制
在陈佳洱院士的指导下,射频超导团队于20世纪80年代建立并率先在国内开展射频超导加速腔研究。1991年,团队利用德国电子同步加速器研究所(DESY)提供的L波段超导铌腔,在国内首次成功进行纯铌加速腔的低温超导实验,建立了超导腔表面处理和测试系统。1994年,团队研制成功国内首只国产纯铌射频超导腔,其Q值超过5×109,峰值加速场强高于21 MV/m,1996年获国家科学技术进步奖二等奖。之后研制铜铌溅射QWR超导腔,并于2000年底在国内首次进行超导腔的载束实验,粒子(质子)能量增益达到500 keV,有效加速梯度超过3 MV/m。与此同时,团队推动国内相关企业研制高RRR铌材和大晶粒铌材,并成功研制大晶粒铌材单cell、2-cell和3.5-cell系列超导腔,加速梯度和品质因数均达到国际先进水平。

1994年,北京大学研制的我国第一只射频超导加速腔(频率为1.5 GHz)
2008年,射频超导团队研制成功我国第一只9-cell纯铌超导腔,加速梯度达到23 MV/m, 接近当时的国际先进水平。随后研制的实用型细晶纯铌超导腔加速梯度28.4 MV/m, 达到国际直线对撞机(ILC)超导腔的可用标准,大晶粒铌材超导腔在22 MV/m加速梯度时品质因数达到2×1010,上述成果获得2010年教育部科技进步二等奖。2013年,团队研制的9-cell超导腔加速梯度32.4 MV/m, 品质因数高于1×1010, 全面达到ILC的要求。
2015年以来,射频超导团队在高品质因数超导腔制备方面开展了系列工作。2020年底,团队高质量地完成了“十二五”国家重大科技基础设施建设项目“X射线自由电子激光试验装置”之分总体“射频超导加速单元”的建设任务(北京大学为项目共建单位),实现了超导腔研制的全国产化,垂直测试加速梯度和无载品质因数达到国际先进水平,为“十三五”重大科技基础设施建设项目“硬X射线自由电子激光装置”的立项提供了重要支撑。射频超导团队还通过中温退火工艺的优化,简化了超导腔的后处理工艺,使1.3 GHz 9-cell超导腔在2 K温度下、16 MV/m加速梯度时的品质因数超过2.0×1010,为连续波X射线自由电子激光装置提供了技术支撑。
射频超导团队承担了环形正负电子对撞机(CEPC)650 MHz 2-cell超导腔的研制、掺氮处理及低温性能测试等工作,研制的超导腔在2 K温度下、22 MV/m加速梯度时的品质因数达到6.0×1010。在国家“十三五”科技创新成就展上,与中国科学院高能物理研究所联合展示了在650 MHz高性能超导腔方面取得的重大成果。650 MHz超导腔的测试结果创造了国内大尺寸椭球型(< 1 GHz)超导腔的最高纪录,不仅可用于CEPC项目,还可以用于国家重大科技基础设施“加速器驱动嬗变研究装置”(CiADS)项目建设和“中国散裂中子源”(CSNS)项目升级等。
2021年,射频超导团队与核工业西南物理研究院、广东省新兴激光等离子体技术研究院等单位合作,开展铌三锡薄膜超导腔的制备研究。团队对薄膜超导腔制备工艺参数进行了系统研究,在不断优化成核时间、成膜温度、成膜时间等参数以及膜层结构的基础上,制备出铌三锡薄膜超导腔。垂直测试结果显示,所制备的1.3 GHz铌三锡薄膜超导腔在4.2K时品质因数达到4.8×109,远高于纯铌超导腔;最高加速梯度达到17.3 MV/m,与国际水平相当。
射频超导团队的研究得到了国际上的认可。2003年,北京大学成为TESLA(TeV Superconducting Linear Accelerator)国际合作组的正式成员。2007年,北京大学成功举办了第十三届国际射频超导会议(SRF2007),陈佳洱院士担任大会主席。团队还为美国杰斐逊实验室(JLab)研制了两只1.5 GHz 7-cell超导腔用于其连续电子束加速装置(CEBAF)的加速器升级研究,为美国阿贡国家实验室(ANL)研制了一只1.3 GHz 5-cell超导腔用于其强流加速器研究。
DC-SRF光阴极注入器
使用具有高量子效率半导体光阴极的射频超导电子枪被认为是获得高亮度连续波(CW)电子束的理想途径,国际上多家研究机构长期致力于相关研发,但工作多受制于半导体光阴极和超导腔的兼容问题。为解决这一难题,射频超导团队于2001年原创性提出直流-射频超导(DC-SRF)光阴极电子枪(也称“DC-SC光阴极注入器”或“DC-SRF光阴极注入器”)的概念,结合DC高压电极和1.3 GHz SRF加速腔,不仅避免了半导体光阴极对SRF加速腔性能的影响,还有助于降低电子枪运行时的暗电流。
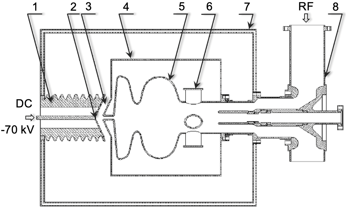
2004年,DC-SRF样机建成,其DC电压设计值为70 kV(实际运行值30~40 kV),加速腔采用1.5-cell结构。样机工作在4.2~4.4 K温度,实现了宏脉冲模式载束运行,获得了270 mA的最大宏脉冲平均流强和1.1 MeV的最大增能,成功地验证了DC-SRF概念的可行性。


DC-SRF样机,左图1~8分别为绝缘陶瓷、光阴极、DC间隙、液氦槽、1.5-cell SRF加速腔、高阶模耦合器、液氮屏以及同轴型RF功率耦合器
2011年,第一代DC-SRF电子枪(DC-SRF-I)建成。同时,2 K低温系统投入运行,电子枪运行所需的其他配套系统,包括在线Cs2Te光阴极制备与传输室、激光系统、1.3 GHz 20 kW固态功率源、数字低电平(LLRF)控制系统、束流实验线等也陆续就绪,为电子枪实验提供了基本保障。DC-SRF-I组装完成后,首先进行了SRF性能测试,CW模式最高加速梯度为14.5 MV/m,脉冲模式(频率10 Hz、占空比10%)加速梯度为17.5 MV/m。经过一系列的调试和关键部件改进及运行条件优化后,DC-SRF-I于2014年实现脉冲模式的稳定载束运行,脉冲长度为7 ms,重复频率为10 Hz,单缝扫描法测得25 pC时的归一化RMS(均方根)发射度为1.5 mm-mrad。


第一代DC-SRF光阴极电子枪
基于DC-SRF-I的准连续束流,射频超导团队先后开展了波荡器超辐射、超快电子衍射等实验研究。其中,由DC-SRF-I电子枪、螺线管透镜和10周期波荡器组成的紧凑装置产生了中心频率在0.24~0.42 THz可调的高重频太赫兹辐射。在国际上首次开展了MHz重频、MeV能量的超快电子衍射实验,实现了10 ms级的衍射图样采样,体现了超导电子枪的优势。
2015年,射频超导团队建成2´9-cell超导直线加速器,并实现DC-SRF-I与直线加速器的联合运行。电子枪与直线加速器均运行在准连续模式,电子束的宏脉冲长度为1~7 ms,重频5~10 Hz,能量10~20 MeV,宏脉冲内平均流强最大值约为1 mA。这一束流也被用于太赫兹波荡器超辐射研究,获得了中心频率在0.8~1.3 THz可调、宏脉冲内平均功率大于1 W的太赫兹辐射输出。
在低发射度、CW运行及高平均流强等目标的驱动下,射频超导团队于2016年启动第二代DC-SRF电子枪(DC-SRF-II)的研发。DC-SRF-II将DC电高压提升至100 kV,采用K2CsSb光阴极,对光阴极驱动激光的时间及空间分布进行整形,模拟研究表明,当束团电荷量为100 pC时,电子束的最优归一化发射度达0.33 mm-mrad,可满足CW X射线自由电子激光对于电子枪的要求。此外,DC-SRF-II采用基于TTF3的功率耦合器,并对散热进行了专门设计。微波测试表明,其CW运行功率已达20 kW以上,10%占空比宏脉冲运行功率超过70 kW,可满足平均流强10 mA的CW运行需要。


第二代DC-SRF光阴极电子枪
2021年初DC-SRF-II组装完成,2021年5月,DC-SRF-II成功实现载束运行,在20 pC束团电荷量、1 MHz重频的运行模式下,归一化发射度优于0.5 mm-mrad;后续又实现了CW运行,束团电荷量为80 pC,重复频率为1 MHz,这是国内电子直线加速器的首次CW运行。这些结果表明DC-SRF-II已可作为高重频CW X 射线自由电子激光等装置的电子源。
2022年,经过进一步优化,DC-SRF-II实现长时间稳定运行,DC电压(100 kV)、1.5-cell超导加速腔梯度(13 MV/m)等均达到设计指标。在13 MV/m加速梯度、CW功率馈入及100 kV高压条件下的暗电流小于1 pA;20、100、260 pC束团电荷量时,归一化发射度均达到了较好水平,分别为0.5、0.85 和1.25 mm-mrad,而且重复性良好;100 pC束团电荷量、1 MHz重复频率的CW恒流运行也得以实现,性能指标处于领先地位。
DC-SRF-II具有输出5 mA以上平均流强电子束的能力,发射度等指标也仍有较大的提升空间,相关实验研究是近期工作的重点。DC-SRF-II产生的高重频电子束在超快电子衍射、太赫兹自由电子辐射、电子-物质相互作用等方面有着重要的应用前景,有望做出具有特色的创新研究工作。
激光加速与直线加速器团队
激光等离子体离子加速器及应用
2004年,国际上激光等离子体加速研究取得了重要突破,陈佳洱院士敏锐地意识到这是下一代新型加速器的重要突破方向。遂安排所里重点关注激光等离子体加速的发展动向,并通过调研确定以激光离子加速作为突破口。
针对激光离子加速器发展面临的能量转换效率和技术实现途径等关键难题,团体取得了系列重要突破,推动了激光离子加速器物理与技术的发展:首次提出和证实激光稳相光压加速方法,提升激光到离子的能量加速转化效率1个量级以上;发展了临界密度等离子体透镜技术,在亚毫米距离内获得580MeV碳离子能量加速记录,将金离子能量记录提升六倍至1.2GeV;提出强流离子束匹配均温动力学方法,建成世界上首台1%能散质子激光加速器装置,产生的超高流强束流已应用于核爆中子探测器校准、等离子体二维磁场诊断和超高剂量率FLASH肿瘤辐照研究,为核物理研究提供了新的研究手段。


光压稳相离子加速示意图
2012年,团队推动了“超小型激光离子加速器及其关键技术研发”在科技部立项,并获得了国家重大科学仪器设备开发专项支持。激光加速团队在2012-2017年的五年间攻克了高对比度高功率飞秒激光、自支撑纳米薄膜靶、激光等离子体透镜、激光驱动超高流强离子束传输等一系列关键技术,建成国际上首台能量3~15 MeV、能散度1%~5%、单束团电量2~30 pC的激光质子加速器与辐照装置。2019年该项工作被授予世界粒子加速器大会Hogil Kim加速器奖。2021年团队制备出完美的碳纳米管薄膜靶,通过与韩国基础科学研究所合作,在实验上获得了超过1.2 GeV的金离子,又将激光驱动的离子能量纪录提升了6倍,新型靶材的研发及与之相关的加速物理研究、与“靶”相关的关键技术的突破,对激光加速器性能的提升、设备的实用化与普及起着至关重要的作用。团队提出激光驱动级联/同步加速方案,提高了激光到质子束的能量转换效率,并正在研发基于放电等离子体通道的新型束线收集系统,并开发了具有自主产权的激光加速器数据控制系统,为基于PW激光质子加速器及质子刀装置提供了关键技术支撑。

激光等离子体透镜
2019年12月,由北京大学牵头承担的国家重点研发计划“重大科学仪器设备开发”重点专项“拍瓦激光质子加速器装置研究与应用示范”项目正式批复,项目的目标是开发具有自主知识产权、质量稳定可靠、核心部件国产化的激光质子放疗系统,并开发相关软件和数据库,实现质子放射肿瘤治疗。这项研究又进一步获得了北京市的支持,北京激光加速创新中心正式立项,入选怀柔科学城第二批交叉平台项目,也邀请诺贝尔奖获得者Mourou教授担任中心学术委员会主任。该中心已于2023年2月竣工,将致力于建造短脉冲激光质子加速器和短脉冲宽谱高亮度光源应用平台,打造国际领先的激光加速器创新平台,支撑新一代光源预研,为未来国家重大科技基础设施落地奠定基础,并有望培育新型加速器产业。

世界上首台1%能散激光质子加速器装置CLAPA(Compact Laser Plasma Accelerator)
2020年,激光加速团队受北京大学委托,与广州市白云区人民政府共同建立了广东省新兴激光等离子体技术研究院。研究院将围绕飞秒激光技术、激光加速器技术和粒子束技术等方面展开应用研究与成果转化,同步促进与医学、生物、材料以及芯片等学科的交叉融合。2021年,陈佳洱先生的院士专家工作站成功落户于广东省新兴激光等离子体技术研究院。他将唯一的工作站设在了广东研究院,表达了共同推进激光质子放疗系统的研制和加快后续产业化进程的强烈愿望。
目前,激光加速团队和核学科相关团队一起拟争取在发改委、科技部、教育部、国家自然科学基金委、北京市政府的支持下,在怀柔科学城(依托北京大学和北京激光加速创新中心)设立中法合作的莫罗研究所(超短超强激光科学研究所)。莫罗研究所拟形成激光技术、先进加速技术、辐射医学、粒子物理与核物理等研究方向,聚焦清洁核能源、暗物质暗能量和肿瘤治疗等重大科学问题。
激光加速器中的靶科学与技术
区别于传统加速器,激光加速过程通过“激光打靶”的方式实现。靶的材料、结构会决定性地影响加速过程。对靶的结构、参数的调控,是控制激光加速过程最直接有效的手段。围绕“靶”的科学与技术问题,是激光加速器的核心问题。团队长期专注于可产生高能离子与高产额X/γ辐射的新型靶材体系的开拓,在近年来创立发展了碳纳米管靶体系,成功解决了临界密度靶难题。设计并构建双层纳米靶实现了重离子级联加速过程,解决了短脉冲激光加速重离子/超重离子时高效电离与长时间加速难以兼得的瓶颈问题,创纪录地获得了580 MeV碳离子与1.2GeV金离子,被Nature Review Physics综述文章认为是对重离子放疗潜在的革命性的加速方法。
除了激光离子加速,团队还成功将碳纳米管靶应用于高亮度X射线的产生。通过对靶材参数的调控,他们利用同步辐射和非线性康普顿散射机制,让在靶内被加速到高能的电子释放出大量X射线光子。其中硬X射线区的峰值亮度达到了10^21/s/mm^2/mrad^2/0.1%BW,与当下正在运行的大型同步辐射光源相当。在30 keV到1 MeV的能谱区间内,能量转化效率达到10^-3量级,相比基于尾波场加速机制的光源,提高了2到3个数量级。该研究成果被选为Nature Photonics封面文章,受到了领域内研究者的高度评价。

基于碳纳米管靶的X射线光源与其它大型光源的峰值亮度对比。SSRF、PetraIII、Spring8分别是正在运行的位于上海、德国、日本的大型同步辐射光源。
在基础研究之外,团队还长期关注激光加速器中与制靶、打靶相关的关键技术和设备的研发。目前,团队已攻克了高品质靶材批量制备、靶材损伤阈值测控、高精度瞄靶、重频打靶等关键技术,研发出了可长期连续工作的超薄液体薄膜靶,有力推动了激光离子加速器实用化进程。

超薄液体薄膜靶系统(左)与液膜表面的干涉条纹(右)
射频四极场加速器与ECR离子源
北京大学的射频四极场(RFQ)加速器研究一直紧跟国际发展前沿,在国内首先开展了四杆型、四翼型、分离作用型、开窗型等多种腔型的研究,开发了一系列用于射频四极场加速器动力学设计软件、腔体测量平台等先进研发工具,做出了一系列有影响力的工作:
国际上首次提出四杆微翼型RFQ电极,解决了四杆型电极不易加工、容易变形等问题,使得四杆型RFQ也能工作于高负载因子甚至连续波运行;于1994年成功研制出国内第一台整体分离环四杆型N+ RFQ,成功地加速N+至300 keV;于1996年首次提出用RFQ加速器同时加速同荷质比正负氧离子设想;于1999年研制出我国首台正负氧离子注入机,可加速正负氧离子至1 MeV,实现正负氧离子的离子注入;在国际上首先提出了提出了分离作用RFQ加速器的设想,并研制出束流验证样机,进而研制出一台RFQ-SFRFQ耦合实验腔,成功地将毫安级氧离子束加速到1.6MeV,能散小于3%,加速效率是常规RFQ加速器的两倍左右;结合国内加速器驱动次临界系统研究项目的需要,北京大学与中国科学院高能物理研究所合作,提出352 MHz RFQ的工艺结构方案,中国科学院高能物理研究所成功地研制出我国首台四翼型质子RFQ加速器;于2011年研制国内首台201.5 MHz D+ RFQ加速器,并以此发展为基于RFQ的中子照相装置(Peking University Neutron Imaging Facility, PKUNIFTY),在此装置上系统地开展了针对碳/碳复合材料中子射线检测方法的研究,并实现了中子数字成像,获得了工程化的初步成果,在中子照相适用性研究方法、RFQ中子发生器技术、中子照相装置设计等方面具有创新性。
与中国科学院近代物理研究所合作,于2014年完成56.667 MHz四杆型连续波运行的U34+重离子RFQ,并已成功地将元素周期表中诸多元素的重离子加速到每核子143keV,该加速器是国内首台连续波高电荷态强流重离子直线加速器,已完成H2+(200 eμA)、40Ar8+(198 eμA),209Bi30+(12 eμA)等束流实验,并用于兰州国家实验室重离子加速器的日常在线运行,提高了装置束流时间 。与中国科学院近代物理研究所合作,研究出CW运行的开窗四翼型D+RFQ,成功将D+加速到1 MeV 1.95 mA的平均流强。


300 keV (a)和1 MeV (b)整体分离环RFQ加速腔及耦合RFQ-SFRFQ加速腔

北京大学中子照相装置
北京大学的2.45GHz ECR离子源的研究始于1987年,目标是研制成出一款集强流、高稳定性、高可靠性,小发射度的紧凑型离子源。经过几十年的努力,团队研制成功了具有北大独立知识产权的全永磁、介质窗耦合、强水冷、无高压平台、小型化的强流、高束流密度、高稳定性的2.45 GHz ECR离子源,简称北大标准源(PKU-PMECRIS)。该离子源在50 kV下已经成功地产生了130 mA的H+, 83mA的D+,10 mA的H-,65 mA的He+,70 mA的O+,70 mA的Ar+和84 mA的N+离子,束流归一化均方根发射度均<0.2p×mm×mrad。在直流模式下,质子源成功地创造了连续运行294.6小时无任何打火或者束流中断的新记录,束流的稳定性好于1%,该纪录刷新了之前由CEA/Sacaly创造的103小时稳定运行的国际记录。在理论研究中,课题组给出了国际上首张关于氢气ECR放电的三相图。另外,课题组研制的团簇离子源产生了42 mA的H2+离子束和20 mA的H3+离子束,创造并保持着H2+和H3+的国际记录。

北京大学标准2.45 GHz ECR离子源的结构、参数与离子源照片
从2016年起,课题组开始了微型强流2.45 GHz ECR离子源的理论和实验研究,研制成功了一体化微型离子源。源体的放电室尺寸为40 mm×f30 mm,整个离子源(含源体、水冷45 kV三电极引出系统,微波耦合等)的外围尺寸为f 180mm × 140mm,微波传输系统从传统的矩形波导换成了同轴线。氢气放电结果表明,该源在脉冲模式下可以产生64 mA(1.8 kW)氢混合束,在直流模式下产生了32.4 mA(100 W),其在直流模式下微波功率效率远高于一般直流质子源的10mA/100W的结果。该源已经在小型中子源和半导体离子注入机中得到了很好的应用。
离子束物理与中子物理团队
载能离子调控二维材料及器件的性能
二维材料及器件在航天领域具有广阔的应用前景,利用载能离子调控二维材料及器件具有非常显著的优势,因此研究二维材料及器件的辐照损伤特性具有重要意义。
研究团队首先开展了载能离子在二维材料中能损的规律性研究,通过对 OBM 模型的扩展和对 Lindhard模型的修正,修正后的物理模型可以准确描述二维材料中电子能损。在此基础上,从2012~2017年之间团队开展了模拟石墨烯二维材料辐照损伤特性的系统工作及验证性实验研究,确认了基地材料对所支撑的石墨烯损伤具有决定性作用,这个系列的研究成果揭示了二维材料辐照损伤的特殊规律,并改变了相关实验的设计准则。在2018年之后,团队利用前期获得的二维材料辐照损伤规律,开展了石墨烯和二硫化钼等样品可控制备纳米孔的研究工作,并建立了孔径可控制备的方法,特别是所制备的国际上第一个具有空间分离特性的异构PET-graphene纳米孔,具有更加丰富的功能,在能量转化、电介质离子分离等诸多领域具有广泛的潜在应用。

石墨烯异质纳米通道结构示意与石墨烯亚纳米孔扫描透射电子显微镜图像
近两年,团队开展了二维材料器件辐照效应的研究工作。通过原位辐照研究,发现石墨烯场效应晶体管(微米)在质子注量较小时(<1012 cm-2)器件性能即会出现显著退化,在空气中经过1~3天性能即可恢复,但在真空中损伤不可恢复,这个结果表明以往在大气环境中的研究结论对航天环境下不适用。其次,我们也发现多层MoS2器件具有更强的抗辐照性能,相同退化条件下所需离子注量比单层器件高两个数量级,这也为设计抗辐照二维器件提供了依据。
材料辐照损伤研究
核能作为我国重要的能源之一,对于推动我国实现“双碳目标”发挥着决定性的作用,而核能材料的研究尤为重要。团队结合国家重大需求,重点开展了核能材料辐照损伤效应的研究工作,承担着多项与核能密切相关的重要科研项目,包括国家自然科学基金重大、重点及面上项目、科技部重点研发计划项目。
近年来,团队开展了多种新型核能材料的辐照损伤效应研究及其设计制备,包括MAX相陶瓷、新型结构材料等。在国际上首次确定了辐照诱导其中晶格原子的微观迁移过程,阐明了辐照条件下MAX相材料相变的准确物理机制,推翻了此前国际上流行的相分解假说;全面系统地对十余种MAX相等材料的结构变化过程进行了定量化分析,揭示了不同结构因子及高熵效应影响材料抗辐照性能的机理,为研发具有更强抗辐照性能的多元陶瓷材料提供了重要的理论依据;首次将高熵效应引入多元陶瓷材料体系,并通过离子辐照揭示了其中的元素迁移机制,阐述了高熵效应引入的化学复杂性对高熵陶瓷材料抗辐照损伤性能的影响。在以上工作的基础上,成功构建了全面且有效的多元陶瓷材料辐照损伤性能评价标准及体系,解决了由于该类材料种类众多导致的研发及性能验证周期长的问题。


影响MAX相陶瓷材料结构及性能的三大因素(左),多元陶瓷材料辐照损伤性能评价标准及体系(右)
聚变堆环境中,氢氦协同效应严重威胁着聚变堆的结构完整性和安全性。然而当前国内外对于协同效应的研究还很初步,特别是对于H、He、空位之间的原初相互作用以及多束辐照模拟研究中极高损伤率的影响尚无探究。本团队依托国家自然科学基金重大项目及科技部重点研发计划项目,将基于2×1.7 MV加速器的束线和靶室,自主研发一台60 kV和一台100 kV注入机,建设便捷精准的宽温域材料三束离子辐照平台。基于第一性原理计算,首次准确标定了Fe中He和H与空位作用的能量参数,以及空位团簇内H-He的协同作用能,为深入理解协同效应中空腔演化的机理提供了重要借鉴。同时,本团队通过系统的多离子束辐照实验,在国际上首次揭示了损伤率对协同肿胀效应的影响,并进一步详细探究了H、He的具体作用表现以及浓度对协同效应的影响,为建立模拟聚变中子辐照的等效实验与计算方法奠定了关键基础。
相关成果发表在Nature Communications、Acta Materialia、JNM、JACS、APL等知名期刊上,其中多篇文章是亮点工作。由于在本领域的突出贡献,王晨旭研究员获得了美国陶瓷学会颁发的2023年全球青年科学家奖。
中子探测与核数据测量
基于多年的核数据测量与评价经验,团队通过对不同能量的中子与12,13C核反应道的详细分析与核数据的合理选取,通过自编程序模拟计算,得到了系统且准确的金刚石探测器的绝对中子响应矩阵。用加速器中子源开展实验测量,团队在国际上首次实现了利用金刚石探测器同时测量中子能谱和中子通量,并证明此方法适用于氘-氘和氘-氚聚变中子诊断,在Scientific Reports上发表研究论文并获得授权发明专利。
面向先进核能系统,中子物理团队与Dubna联合核子研究所、原子能科学研究院、高能物理研究所等单位合作,基于北京大学4.5 MV静电加速器中子源、原子能院HI-13串列加速器中子源、中国散裂中子源Back_n白光中子源,对一系列轻核、中重核和重核(1,2H, 6Li, 10B, 12C, 14N, 16O, 25Mg, 35Cl, 39K, 40Ca, 54,56,57Fe, 58,60,61Ni, 63Cu, 64,66,67Zn, 95Mo, 143,144Nd, 147,149Sm, 232Th)的中子诱发带电粒子出射核反应进行了实验测量与理论分析,获得了可靠的实验结果。迄今已有60个核反应、107套核反应数据被国际原子能机构(IAEA)核反应实验数据库EXFOR收录(本实验室在库中的专用代码为“CPRBJG”)。在PRL、PRC、CPC、EPJA等期刊发表研究论文100多篇。其中,149Sm(n,)反应测量,精确测得了小到50微靶的反应截面,相关研究工作发表在PRL上;10B(n,t+2)多体核反应实验结果对澄清已有数据分歧起到了重要作用,对认识多体反应具有重要意义;在4~11MeV中子能量区,测量了54,56,57Fe, 58,60,61Ni, 64,66,67Zn等(n,α)反应截面,发现其激发函数中均存在“肩效应”,通过分析能量微分截面,发现了明显的非统计效应;基于白光中子源,在很宽的中子能区对6Li(n,t)、10B(n,α)、n-p散射微分截面进行了测量,实验结果的系统性和精度位于国际前列,得到了国际原子能机构(IAEA)标准数据专家组的高度评价和认可,被认为是近年来标准截面测量的主要进展,为新一轮国际标准截面数据评价提供了重要依据。

金刚石探测器对1.0~10 MeV中子(a) 和10~20 MeV中子(b) 的响应矩阵

基于Back_n白光中子源测量得到的6Li(n,t)反应的微分截面
医学物理团队
中国人磁共振脑影像大数据开放资源
人类的脑与行为受到基因、环境和文化及其相互作用的塑造,而近年来前沿医学影像技术方法飞速进步,推动多模态脑影像大数据集的产生和融合性探索,使得深入探究人脑宏观结构与功能连接组架构成为可能,也进一步推动对上述重要科学问题的探索。
北京大学重离子物理研究所医学物理和工程北京市重点实验室近年来启动并初步完成了「中国人脑连接组计划」(Chinese Human Connectome Project, 简称 CHCP),旨在构建一组基于中国人群的大型多模态神经影像、行为与基因数据集。为方便对照和比较,CHCP与美国「人类脑连接组计划」(Human Connectome Project, 简称 HCP) 的研究规程保持高度一致:包括磁共振成像扫描、数据采集参数、功能脑成像的任务范式等;同时 CHCP 也采集了与HCP 数据集可类比的行为与基因数据。该研究目前已建立了一套全新的中国人脑影像开放资源,并揭示了中西方脑结构与功能组织信息在大尺度水平的系统性差异。相关成果及其大数据资源于2022年12月在线发表于Nature Neuroscience,并获得了国际同行的广泛关注。

中西方大尺度脑功能图谱对照结果
CHCP中国人脑连接组计划研究成果及其数据资源的公布不仅对于促进基于中国人医学影像的脑行为和脑图谱方面的科学研究具有宝贵意义,更重要的是填补了当前国际上缺少来自非西方群体(比如中国人群)对照的空白,为探索人类不同文化与族裔背景中的脑-行为关联起到了推动作用。
原子磁强计脑磁图研发与应用
原子磁强计脑磁图系统是北京大学重离子物理研究所医学物理和工程北京市重点实验室自主研发的高灵敏度、高自由度、低成本的新一代脑磁图系统。实验室团队在系统核心部件方面实现全自主可控,并突破了超高灵敏弱磁探测、高性能磁屏蔽与磁补偿、自动化配准成像等关键技术,彻底颠覆了传统商用超导脑磁图的技术形式,为新一代脑磁图在临床和脑科学研究中的发展与推广奠定了基础。团队集中攻关了小体积约束下高灵敏度小型化原子磁强计的相关技术与器部件工艺,磁强计本底噪声低于10fT/Hz1/2。此外,通过优化高精度量子操控方法,磁强计带宽可达上百Hz。原子磁强计脑磁图系统以灵活、半开放式磁屏蔽筒取代传统超导脑磁图必备的大型磁屏蔽室完成脑磁探测,该屏蔽筒依靠用有限元仿真和优化算法进行尺寸设计并优化参数,剩余磁场低于2 nT。使用该脑磁图系统采集听觉刺激下初级听觉皮层的响应信号,通过基于光学扫描的配准技术得到所有磁强计相对于大脑的位置,就能对特征脑磁信号进行溯源分析,定位到个体单侧初级听觉皮层激活区域。

a.高性能小型化原子磁强计外观(左)及本底噪声(右);b.磁屏蔽装置示意图及内剩余磁场测量结果;c.听觉诱发脑磁信号测量结果(左)及初级听觉皮层定位结果(右)
睡眠神经影像基础研究与应用
睡眠神经影像是北京大学重离子物理研究所医学物理和工程北京市重点实验室的重要研究方向之一,它是医学物理、神经科学、睡眠医学、信息学和工程学相结合的交叉学科。国际领先的多模态睡眠神经影像平台包括3T磁共振、7T磁共振、9.4T小动物磁共振、脑磁图、磁共振兼容脑电、脑磁图兼容脑电、便携睡眠测试仪、多导睡眠监测仪、声光温湿度可调的睡眠实验室于2015年起陆续搭建,目前已全面到位,同步进行多项睡眠神经影像研究,供校内外研究团队使用。团队已经开展睡眠-清醒过程中脑功能活动和认知加工研究,包括刻画小脑-大脑-皮层下脑功能区的大尺度连接模式在睡眠-清醒状态下的变化规律,绘制首张睡眠过程中觉醒的脑功能激活/负激活图,发现前后测下丘脑的全脑范围功能连接模式对睡眠-清醒过程的特异性调控模式,揭示睡眠过程中大脑对声音方位信息的认知加工模式。结合vision transformer和条件随机场的深度学习构架,提出SimSleepNet睡眠-清醒状态自动分期方法,搭建睡眠过程EEG-fMRI数据的自动化分析平台A-PASS。应用于失眠障碍并结合临床,发现前扣带回-小脑环路的功能同步性增高是患者睡眠连续性差的脑功能基础,丘脑-边缘系统环路的功能同步性降低是患者主客观睡眠差异大的脑功能机制,可为治疗失眠障碍提供神经影像学靶点。

睡眠过程中小脑-大脑-皮层下脑区的功能连接变化规律

睡眠过程EEG-fMRI数据分析的自动化分析平台A-PASS
癫痫致病痫灶快速精准定位脑成像算法开发
北京大学重离子物理研究所医学物理和工程北京市重点实验室从磁共振成像(MRI)、脑磁图(MEG)、脑电图(EEG)三个无创脑成像模态出发,针对传统MRI无法直接获得神经元电活动的信号、MEG和EEG溯源定位不准确和空间分辨率低等缺陷,发展了一系列能够快速精准探测癫痫异常放电位置的脑成像新方法。首先,实验室基于MEG发展了分布式溯源算法用于定位癫痫致痫灶,包括基于稀疏假设的eFast-VESTAL算法和融合MEG与SEEG两种模态优势的溯源算法SIMNE,研究结果表明新算法相比传统的溯源算法提升了对癫痫患者IED的定位精度;其次,实验室基于MRI开展了癫痫患者fMRI白质脑网络分析,探究癫痫患者的脑网络异常,从脑网络层面为致痫灶定侧提供依据;最后,实验室发展了基于同步记录fMRI 时变约束EEG源定位算法wFITC,进一步提高EEG溯源定位的准确性。实验室还构建了一个包含4083例癫痫患者和366例健康对照的癫痫多模态脑影像数据库,为后续发展和验证癫痫致痫灶定位脑成像新方法提供了数据基础。基于此数据库,实验室借助深度学习等人工智能技术发展了自动检测癫痫异常放电的算法,并发展了用于癫痫患者病理高频振荡信号的检测和定位一站式系统EMHapp,以及用于发作间期癫痫样放电信号的检测和定位工作流AMSI。

癫痫患者病理性高频震荡信号的检测和定位一站式分析系统

癫痫患者脑磁图发作间期棘波检测算法流程图
癌症诊疗与FLASH放疗
针对癌症早期诊断和伴随诊断,基于CTC的物理生物学多参数特性,研究团队发现了易转移癌细胞的典型特征,该成果在2020年作为封面文章发表后(Cancer Science 111: 467-476, 2020),国际同行顶尖学者在Nature Reviews Cancer上对此进行了详细介绍并认为具有重要意义(Nature Reviews Cancer 21(9): 592-604, 2021)。团队进一步基于流体力学描述不可压缩流体(血液)中粒子(CTC)运动规律的纳维-斯托克斯方程,在测定了多项血液的物理边界条件参数基础上,运用模拟计算和实验验证进行了上百次的迭代,开创性地实现了无添加、高鲁棒性、高效率的CTC分离芯片,该芯片比现有已报道的惯性聚焦稳定区间扩大了10倍,从底层原理上解决了惯性聚焦无法大规模临床应用的关键问题,其研究成果相继申请了10余项国际国内专利并在近期以正封面等形式发表在Lab on Chip等行业主流杂志上(Lab on Chip 20: 4094-4105, 2020;The Innovation 4(3): 100408, 2023)。此项突破解决了原发癌转移前早期发现和治疗后复发诊断的关键障碍。
团队针对癌症转移的阻断和治疗,进一步组织了工程力量,在上述研究的基础上通过大量实践改进,成功开发了可规模化生产的低成本工程芯片样品。在与临床需求相匹配的大流速范围内,具有高捕获效率、高鲁棒性、无需对血液进行成分添加或稀释等优点,首次真正实现了体内全血中CTC的连续无添加高效分离,解决了通过动态去除癌症病人血液里CTC阻断/减缓癌症转移的关键技术难点。同时,基于规模化生产的工程芯片样品,候选者组织工程化团队通过借鉴目前临床成熟的血透析医疗装备,在实验室初步搭建了体内自动化CTC捕获分离系统,并首次在小动物上验证了CTC透析捕获对乳腺癌肺转移的阻断,结果显示转移受到显著抑制的有效率高达93%(14/15)。
相比于传统放疗,FLASH放疗(>40 Gy/s)在保证对癌细胞杀伤的同时能大大减轻对正常细胞的损伤,因而被认为是未来新一代的放疗方案,相关研究尚处于起步阶段。团队基于北京大学自主研发的大科学装置CLAPA-I激光加速器,在全球首次完成了109 Gy/s超高剂量率FLASH辐照乏氧/常氧条件下正常细胞、癌细胞和癌干细胞的前期基础研究。国际同行认为候选人首次报道的研究成果对临床转化具有重要作用,加深了整个行业对癌细胞亚型治疗耐受的理解(J Appl Clin Med Phys 23: e13790, 2022)。团队基于2018年获得诺贝尔医学奖的癌症免疫检查点治疗策略,通过大量(>1600只)小动物实验研究,实现了诱发个性化癌症疫苗高效治疗转移瘤的方案,总有效率达86%。

团队开发的癌症疫苗及其示意图
高能量密度物理团队
超强激光驱动的高品质离子源及三维同步质子照相研究
高品质离子束,尤其是质子束和重离子束,在质子照相、癌症治疗、激光核物理和实验室天体物理等诸多方面有非常重要的应用。激光驱动离子加速相较于传统加速器,因其更高的加速梯度(提高3个量级以上)而受到广泛重视和研究。目前,理论与实验研究最多的加速机制主要是辐射压加速(RPA)和靶背垂直鞘场加速(TNSA),前者可以得到单能性很好且能量很高的离子束,后者可以得到宽能谱且高通量的质子束。
2016年,在RPA加速机制的基础上,团队提出了“离化动态致稳”辐射压加速新方案,解决了辐射压加速中不稳定性导致加速被过早破坏的难题。利用高Z涂层的连续电离效应动态地给被加速薄靶补充电子,维持其不透明性,进而抑制不稳定性的发展,实现了稳定的辐射压加速。采用1022W/cm2的激光辐照带有Au涂层的Al靶,理论上可以获得3.8GeV、粒子数为1010 (带电量大于20nC) 的准单能Al13+离子束。该项工作发表于Phys. Rev. Lett. 118, 204802 (2017)。

“离化动态致稳”辐射压加速新方案
2020年,团队进一步提出利用拍瓦飞秒强激光辐照微带靶获得单能高品质离子束的离子加速新方案。利用激光剥离微带靶电子而激发起的纵向表面等离子体波加速电子并在靶后建立纵向加速场和横向聚焦场,进而获得准单能离子束。采用强度为7.8×1020 W/cm2、能量为50J的飞秒激光,理论上可得到能量超过100MeV,能谱展宽约为1%,粒子数目为109的单能质子束。该工作发表于Phys. Rev. X, 11, 041002 (2021)。

强激光辐照微带靶离子加速新方案
2019-2021年,依托世界上唯一的同时具有纳秒、皮秒和飞秒激光脉冲的星光-Ⅲ装置,利用TNSA加速机制驱动高品质质子源,开展了各向异性热等离子体中自生磁场的三维同步质子照相系列研究。首次获得了低原子序数CH和高原子序数Cu等离子体自生磁场的三维结构实验数据,并且同时观察到了流体的Biermann和动理学的Weibel这两种最重要的宇宙种子磁场机制,揭示了库仑碰撞对磁场产生的重要影响。该技术入选国家“十三五”科技成果创新成就展,是“超强激光在高温高密度极端物质科学中的先进诊断技术”成果的主要内容之一,也是获得“国防科技工业突出贡献奖(团队奖)”的主要内容之一。

各向异性热等离子体自生磁场三维同步质子照相研究
聚变等离子体物理团队
等离子体约束与输运的大规模数值模拟
近年来,等离子体物理专业林志宏老师课题组和徐学桥、王晓钢老师课题组分别在托卡马克芯部离子体的大规模动理学数值模拟和边界等离子体的磁流体数值模拟等方面取得系列重要进展。
林志宏老师组将机器学习方法结合到课题开发的回旋动理学程序,并利用实验上的诊断信息来实现对燃烧等离子体可能出现的不稳地模式(例如阿尔芬本征模)的预测(Nuclear Fusion, 61, 126061 (2021))。

SGTC工作流程
托卡马克刮削层的热负荷问题是未来聚变堆面临的主要问题之一。徐学桥、王晓钢老师组通过课题组开发的BOUT++磁流体程序对刮削层内的输运问题开展了系列研究,发现湍流输运的引入可以显著增加刮削层的宽度,从而有效减低偏滤器的热流强度(李泽宇,博士论文(2019))。这一结果对未来聚变堆的运行设计有重要参考意义。

湍流输运“展宽”刮削
等离子体湍流自组织过程的理论研究
等离子体物理专业郭志彬课题组近年提出并发展了描述等离子体湍流自组织的过程的创新性理论方法:非线性相动力学理论,并在磁约束等离子体先进运行模式的产生机制(Phys. Rev. Lett., 114, 145002 (2015); Phys. Rev. Lett., 125, 255003 (2020))、带状流的自发形成等方面取得若干重要结果(Phys. Rev. Lett., 117, 125002 (2016))。


(a)相位状态决定约束状态 (b)理论预测无破裂约束状态
等离子体物理与聚变诊断新原理探索
磁场是磁约束等离子体的一个最基本的物理量,但对磁场的诊断测量一直是聚变研究的一个难点问题。肖池阶、王晓钢老师课题组与核技术及应用专业颜学庆、林晨课题组合作,提出了激光离子束轨迹探针(LITP)这一测量极向磁场和径向电场的新原理:基于激光加速的离子束相对静电加速具有大能散、大散角、短脉冲、多价态等特性,对磁场和电场进行高精度诊断(Rev. Sci. Instrum. 87, 11D610 (2016); Rev. Sci. Instrum. 89, 10I103 (2018); J. Instrum. 13, C03034 (2018))。这一新方法有望实现对磁场和电场的高精度诊断测量。


(a)LITP诊断原理示意图 (b)LITP反演结果
磁约束聚变等离子体中子谱仪诊断和快粒子物理研究
聚变能源被认为是解决人类面临的能源和环境问题的终极解决方案,中子诊断是未来聚变堆控制运行和燃烧等离子体物理研究的关键技术之一。聚变中子物理小组在EAST和HL-2A托卡马克装置上率先研发了系列的紧凑型全数字化有机闪烁体中子谱仪和适于强中子场测量的金刚石探测器Bonner球谱仪(Nuclear Fusion 53, 063023(2013); Appl. Phys. Lett. 114, 233502(2019)),将中子谱仪诊断聚变堆芯部等离子体离子温度的极限下推到1 keV以下(JINST 8, P07016(2013);Plasma Phys.Control.Fusion 60,095004(2018); Rev. Sci, Instrum.92,043506(2021));在EAST托卡马克装置上研究建成了国际上第一台大型双环式球形阵列聚变中子飞行时间TOFED谱仪(Nucl. Fusion 54, 104008(2014); Journal of Fusion Energy 40, 14(2021)),将托克马克聚变氘等离子体在快离子能区的物理诊断性能提高了两个数量级。小组通过与日本国立聚变科学研究所NIFS合作,在日本大型磁约束装置仿星器LHD上建成第2台TOFED谱仪并将在2024年参加JT60-SA实验(Rev.Sci. Instrum. 92, 053547(2021))。


(a)TOFED@EAST (b)快粒子引起的中子飞行时间谱展宽

